第四章 AI时代:人类将如何变革?(第8/20页)
相比之下,谷歌的自动驾驶团队多少有些“拣尽寒枝不肯栖,寂寞沙洲冷”的脱俗意味。追求最佳的安全和行驶体验,迟迟不进行商业化的开发,这让谷歌自动驾驶团队在许多新闻评论中成了“起个大早,赶个晚集”的揶揄对象96。因为产品商业化迟缓,谷歌自动驾驶团队的许多技术人员都已离开谷歌,成为各大科技企业和初创团队中研发自动驾驶技术的领军人物。创始人塞巴斯蒂安·特龙已将精力放在了教育项目优达学城(Udacity)上;团队骨干安东尼·勒万多斯基(Anthony Levandowski)带着自己熟悉的三名同事创立了Otto继续做自动驾驶,这家公司已被优步收购;创始团队CTO克里斯·厄森(Chris Urmson)2016年8月离职;另一名技术专家朱家俊也离职组建了Nuro.ai。
2016年12月,谷歌宣布,自动驾驶团队正式分离出来,成立了一家名叫Waymo的新公司。这一举措也许意味着谷歌自动驾驶汽车正式走向商业化的开始,也许是谷歌为了应对人才流失和市场竞争的无奈之举。无论如何,我们还是更愿意看到谷歌自动驾驶汽车项目继续引领自动驾驶的科技革命,未来能继续代表自动驾驶技术的最高水平。

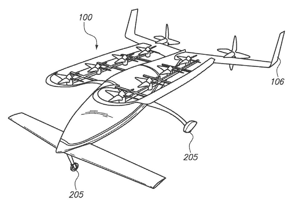
图42 Zee.Aero公司申请的“飞行汽车”专利中的图示97
顺便提一下,除了公路上跑的汽车,包括谷歌创始人拉里·佩奇以及塞巴斯蒂安·特龙本人在内,都在关注甚至投资研发更加科幻级的自动交通工具。据说拉里·佩奇秘密投资了两家神秘的“飞行汽车”初创公司Zee.Aero和Kitty Hawk,而Kitty Hawk正是塞巴斯蒂安·特龙创立的。目前,有关这两家神秘公司的公开资料少之又少,人们只能从一些只言片语,或是已申请专利中一些非常早期的概念图来猜测,这两家公司想做的是像飞机一样在空中自由飞行,又像汽车一样方便乘坐和停放的新一代交通工具。98
AI小百科 自动驾驶的六个级别
和“人工智能”一样,“自动驾驶”也是一个有歧义,经常被人用不同方式解读的概念。
例如,有人喜欢用“无人驾驶”来描述相关技术与应用,但“无人”一词带有鲜明的“100%由机器操控”的含义,无法涵盖辅助驾驶等初级功能。事实上,许多汽车厂商都把计算机辅助驾驶称为“自动驾驶”。大家应该知道,装配有碰撞告警、车道保持、定速巡航、自动泊车等自动化功能的汽车好多年前就已经开始在市场上销售了,厂家在做广告宣传时,就将这些辅助告诉人类驾驶员,并将辅助完成特定操作(如泊车)的系统称作“自动驾驶”,但这和谷歌研发的全功能的自动驾驶汽车显然不是一个级别的技术。
从中文语义上来说,“无人驾驶”的语义过于狭窄,而“自动驾驶”的语义过于宽泛。即便在英文文本中,“self-driving car”“driverless car”“robotic car”和“autonomous car”等术语之间,内涵和外延也并非完全一致。
从理想的情况看,人类当然希望尽早看到完全“无人驾驶”的汽车取代现有的所有人类司机,但从自动驾驶技术的发展进程看,未来将存在10年或更长时间的过渡期,各种不同类型、不同层次的自动驾驶技术将呈现共同发展,各自覆盖不同需求、不同路况、不同人群、不同商业模式的情况。因此,用内涵单一的术语不利于自动驾驶技术目前的发展阶 段。
为了更好地区分不同层级的自动驾驶技术,国际汽车工程师学会(SAE International)于2014年发布了自动驾驶的六级分类体系,美国国家公路交通安全管理局(NHTSA)原本有自己的一套分类体系,但在2016年9月转为使用SAE的分类标准。今天绝大多数主流自动驾驶研究者已将SAE标准当作通行的分类原则。
SAE标准将自动驾驶技术分为0级、1级、2级、3级、4级、5级,共六个级别。具体的级别划分和描述如下页图表99所示:

在SAE的分类标准中,目前日常使用的大多数汽车处在第0级和第1级之间,碰撞告警属于第0级的技术,自动防碰撞、定速巡航属于第1级的辅助驾驶,自动泊车功能介于第1级和第2级之间,特斯拉公司正在销售的Autopilot辅助驾驶技术属于第2级技术。
按照SAE的分级标准,第2级技术和第3级技术之间,存在相当大的跨度。使用第1级和第2级辅助驾驶功能时,人类驾驶员必须时刻关注路况,并及时对各种复杂情况做出反应。但在SAE定义的第3级技术标准中,监控路况的任务由自动驾驶系统来完成。这个差别是巨大的。技术人员也通常将第2级和第3级之间的分界线,视作“辅助驾驶”和“自动驾驶”的区别所在。
当然,即便按照SAE标准实现了第3级的自动驾驶,根据这个级别的定义,人类驾驶员也必须随时待命,准备响应系统请求,处理那些系统没有能力应对的特殊情况。使用这个级别的自动驾驶功能时,人类驾驶员是没法在汽车上看手机、上网、玩游戏的。
所以,虽然从技术标准上说,第3级自动驾驶有它存在的必要,但在实际应用场景里,这一级别的自动驾驶是否真正可用,是很值得我们怀疑的。人类驾驶员一旦发现机器可以应付大多数情况,就会分心去做其他事情,以至于在机器遇到特殊情况时,无法及时、正确响应,并酿成事故。
谷歌曾经在员工中做过一个有趣的实验。自动驾驶团队在谷歌内部招聘了一批数量不多的志愿者,每个志愿者可以“认领”一辆测试用途的自动驾驶汽车回家。这些志愿者都被告知:用于测试的汽车并不完善,仍然需要志愿者坐在驾驶位置,随时准备应对汽车无法处理的路面突发情况。但谷歌的自动驾驶团队发现,志愿者几乎很少听从这个忠告。因为在绝大多数情况下,谷歌的自动驾驶汽车表现得非常好,完全可以自如应对路面上发生的各类复杂情况。这样一来,几乎每个志愿者都会100%放心地将驾驶操作交给汽车,自己则利用乘车的时间,做起任何自己想做的事情来:有乘车时看地图的,有乘车时看视频的,有乘车时躺在后座打盹儿的,有乘车时跟女友亲热的……
这次志愿者测试项目让谷歌自动驾驶团队明白了一点:一旦自动驾驶汽车达到了足够高的水平,车内乘客就会想当然地将所有操控权交给汽车。无论这时候自动驾驶汽车的软件是否还有风险,无论路面上那些极端的路况是不是能被自动驾驶汽车正确处理,车主都不会保持100%的高度警觉。